這個春節,許多人停下回家的腳步,留在異鄉。對“就地過年”的群體而言,過年的陪伴或許少了,但年味不一定會少。
臘腸作為南方地區傳統食品,承載了人們對于家鄉和年味的記憶。臘味對舌尖的撫慰,一定程度上也緩解了異鄉人對家的思念。就地過年的號召下,“年貨經濟”帶動了臘味、水果、蜜餞果脯等品類的銷量上漲,也讓商家們聞風而動。
在惠農網近期的年貨節上,山東棲霞蘋果、廣西博白黑皮甘蔗、山東陽信牛肉、湖北秭歸臍橙等地域特色和地標性農產品在活動中被火爆搶批,柑橘類目訂單量環比上漲312%。數據的增長足見商家對備戰年貨生意的熱情,也反映出在移動互聯網的浪潮下,采購渠道的變遷。
惠農網聯合創始人李俊杰表示,一直以來,惠農網從賦能商家與提升采購效率兩方面入手,通過“全平臺集中促銷”“限時搶批”“暢享助農直播價”等形式,在品質農貨與采購商之間搭建高效精準的“超短供應鏈”,幫助商家打造營銷體系,實現店鋪流量與交易雙上漲,同時,為采購商提升找貨效率,幫助快速找到心儀的貨源。
目前,惠農網涵蓋2萬多個常見農產品品種,覆蓋2818個縣級行政區,幫助超2000萬用戶擁抱互聯網,走上增收的高速路。
互聯網連接了更多需求與供給,也對維系供需平衡提供了更多參考的維度。商家想在年貨采購的旺盛消費需求中獲利無可厚非,但少數商家在市場中蓄意炒作,則干擾了市場的良性運行。
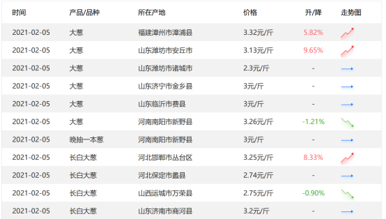
2020年下半年以來,減種洪澇等多種因素疊加,導致大蔥價格呈現高位波動的狀況。近期價格有所回落,但較往年仍然維持高位。
為給消費者菜籃子站好崗放好哨,抑制囤積居奇、哄抬物價等不良商業行為,惠農網近期也在緊密跟蹤上萬種果蔬價格變動,在為農業農村部提供農產品電商大數據的同時,也向消費市場和產業鏈傳遞正確價格信號。
從惠農網跟蹤的多個大蔥產地來看,價格較去年同期水平確實有一定上漲,目前出地頭的大蔥均價在2.5元每斤至3.5元每斤左右,價格中樞在3元每斤左右。惠農網認為,終端零售的合理價格在4元至5元每斤,農民朋友、批發商、消費者均應當理性看待大蔥價格漲跌趨勢,上游不要盲目跟風炒作,下游不要恐慌搶購囤積。

(惠農網大蔥行情)
異鄉人的這個春節因疫情變得不一樣,關于美食的記憶和期待是他們能感受到為數不多的溫暖之一。為彌補記憶中的年味缺憾,將優質實惠的家鄉特產送至消費者桌前,惠農網將在春節期間繼續為供應商和采購商精準需求匹配,為市場和主管部門提供農產品行情數據監測,讓農產品交易更加高效和有序。





